| BASKET STRAINERS
/ FILTERS
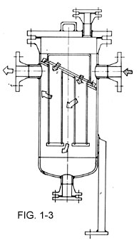
SIMPLEX BASKET TYPE OFFSET CONN. | SIMPLEX
BASKET TYPE INLINE CONN. | SIMPLEX BASKET TYPE INLINE
CONN. WITH WELD NECK FLANGES |  |  |  |
Basket Type Strainers are widely
used to remove foreign particles & debris wherever liquid flow. They provide
an extremely means to upgrade liquid quality, protect costly equipment's like
bearings, valves, pumps, burners, spray nozzles, and condensers etc. Practically
there is no difference between strainer & filter. Strainer
is a course filter. Any device, which removes particles, which are visible to
naked eye, the same is known as strainer. Device, which removes particles, which
are not, visible to naked eye, the same is known as filter. General rule says
that a device, which removes particles coarse than 200 mesh (74 microns) is known
as strainer & a device, which removes particles finer than 200 mesh is known
as filter. Basket Strainers are also used in
conjunction with a filter by installing strainer directly ahead of filter, the
large heavy particles are arrested by the strainer, there, by reducing frequency
of replacing element of a filter. Basically there are two types of Strainers Basket
Strainers & 'Y' Strainers. 'Y' Strainers
are so called because of their shape. 'Y' Strainers are generally used with steam
& gases & in case where the necessary for cleaning is infrequent. Basket
Strainer are generally used with liquids & where regular frequent cleaning
is needed. Basket Strainers hold considerably more material than 'Y' Strainers
and they offer less pressure drop then 'Y' Strainers both factors are of more
importance in liquid flow then any steam or gaseous flow. For
safeguarding lubricated equipment from abrasive, ferrous particles, Grotto end
inlet basket can be furnished with a powerful permanent magnet assembly. This
magnet effectively removes even microscopic, ferrous from the liquid. TOP
| BASKET STRAINERS
/ FILTERS | STEAM JACKETED & DUPLEX BASKET
TYPE STRAINERS / FILTERS | | SPARE BASKETS
& FILTER ELEMENTS | SELF CLEANING TYPE FILTERS
| 'Y' TYPE STRAINERS | 'T'
TYPE STRAINERS | | TEMPORARY / CONICAL
STRAINERS | COMPRESSED AIR PIPE LINE FILTERS
| INDUSTRIAL GASKET DIVISION | | A
RANGE OF TEA / COFFEE VENDING MACHINES FROM LEVER FOODS SERVICE AND IT'S PREMIXES
| |